1. 羞羞的网站免费看,羞羞软件下载,羞羞视频APP在线观看,男女生打扑克羞羞视频免费网站

      歡迎訪問江蘇羞羞的网站免费看機械製造有限公司官網網站!

      網站地圖在線留言收藏本站中文站English

      客戶谘詢熱線:18944828889
      0523-84888996

      熔糖、真空滲糖係統

      當前位置:首頁 > 產品中心 > 熔糖、真空滲糖係統 > 熔糖、真空滲糖係統

      熔糖、真空滲糖係統
      • 熔糖、真空滲糖係統

        熔糖、真空滲糖係統

      • 熔糖、真空滲糖係統

        熔糖、真空滲糖係統

      • 熔糖、真空滲糖係統

        熔糖、真空滲糖係統

      • 熔糖、真空滲糖係統

        熔糖、真空滲糖係統

      • 熔糖、真空滲糖係統

        熔糖、真空滲糖係統

      • 熔糖、真空滲糖係統

        熔糖、真空滲糖係統

      • 熔糖、真空滲糖係統

        熔糖、真空滲糖係統

      產品實拍
      產品詳情



      生產步驟
      一、溶糖係統
      1、先通過外部設備向溶糖罐中加入一定量的純淨水,加熱端子接通電源加熱,使純水加溫到100℃,並同時起動電機進行攪拌;
      2、再將蔗糖通過人工操作進入溶糖罐中,使蔗糖在純水中溶解;
      3、蔗糖溶解後就可打開溶糖罐下麵的閥門1,使糖汁流入飲料泵,再分別打開閥2,起動飲料泵使其工作,在飲料泵離心力的作用下,通過雙聯過濾器,使糖汁得到充分的過濾,分別流入滲糖係統中;



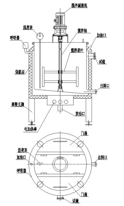
      電加熱調配罐

       一、概述
      該機適用於食品、飲料、製藥、乳品、日化、生物工程等領域的流體物料的調配。
      二、組成部分及工作原理
      示意圖:


         該機主要由罐體、攪拌減速機、攪拌軸、攪拌槳葉、調整支腳、保溫層、出料口等重要部分組成。其主要工作原理:從加油口中加入水或者導熱油(直到能從試鏡看到液體為止),罐體裏麵加入物料或者純水(嚴禁幹燒),接通電加熱棒電源,減速機帶動攪拌軸轉動,將物料均勻地混合。該機整體采用不鏽鋼製作,結構簡單、操作方便,具體可根據客戶要求設計儲存容積量,也可設置半開門式或對開門式。
      四、使用與維護
      1、使用前,將機器放置水平,再檢查機器連接部位是否緊固;
      2、清潔罐子內外,進料口與相關的設備的出汁口連接,出料口處安裝控製閥並連接至下一道工序;
      3、接通減速機電源,檢查一下攪拌軸的旋轉方向是否與方向指示牌一致並空轉運行兩分種,確認機器運行正常並無異響,然後切斷減速機電源;
      4、關閉出料口閥門,再將料液從進料口流進罐體內。
      5、當料液達到一定高度時(根據所需要加入輔料的比例計算,並且要求加入輔料後總高度不要超過罐體高度的4/5),停止進料液,打開門蓋加入規定的輔料;
      6、運行減速機,轉動攪拌軸,進行混合料液。
      7、攪拌漿葉混合料液時,當發現輔料與料液無明顯區分時,即可切斷減速機電源;
      8、打開出料口閥門,即可放出料液。
      9、清潔調配罐時,拆去罐子的進料口和出料口連接,關閉出料控製閥,從進料口補入清水至罐體高度4/5時,接通減速機電源進行混合清洗,也可以在切斷減速機電源的情況人工打開罐蓋用刷子進行刷洗,清洗好後,打開出料控製閥放出汙水。放出汙水後,關閉出料控製閥,再進入清水清洗。反複幾次就可以清潔幹淨。zhi後用幹淨的抹布擦去殘留的水漬。
      10、定期檢查減速機潤滑情況,並更換潤滑油。(操作方法見減速機說明書)
      11、長期不使用攪拌罐時,務必清洗幹淨罐子內外,保持幹燥、潔淨。




      電加熱真空浸提罐
      一、概述
      真空浸提罐,具有節能、消聲、耐腐、生產能力強,清洗方便等優點,廣泛用於製藥行業、食品、化工、飲料等工業部門,作為浸取物料內成份加熱、冷卻、保溫、殺菌處理或貯藏漿液的須設備。
      二、組成部分及工作原理


      該機主要由上蓋、筒體、保溫層、調整支腳、電加熱棒、浸提藍、真空泵、水箱等重要部分組成。
      其主要工作原理:從加油口中加入水或者導熱油(直到能從試鏡看到液體為止),水箱中加滿水;打開上蓋鎖緊開關,旋轉支架將上蓋移到一邊,吊出浸提藍,裝滿物料後放入罐內,加入糖液,糖液默入浸提藍後停止加入糖液;將上蓋移動到筒體上方,鎖緊開關,關閉進糖液閥門;啟動真空泵及電加熱就可以工作。
      三、使用與維護
      1、機器須安裝水平,並用地腳螺釘固定。
      2、緊定好整機上各部螺栓。清洗整機內外,保持潔淨。
      3、接通真空泵電源,查看泵軸旋轉方向是否與旋向指示牌一致。
      4、進料前,接通真空泵,運行一段時間,查看負壓表壓力是否穩定,有沒有漏氣現象。
      5、沒有漏氣現象,關掉真空泵,打開放氣閥,打開罐蓋,拿出提籃,將物料放入提籃中,把提籃放到管內,往管內輸送糖液,直到糖液浸沒物料。
      6、打開真空泵抽真空,加熱端子接通電源加熱。
      7、一段時間後,關閉電源,關閉真空泵,打開放氣閥,等冷卻後打開罐蓋,拿出物料。
      8、使用完後,務必清洗幹淨整機內外,使其保持潔淨。
      9、經常檢查真空泵是否過載發熱,發現不良現象,須與維修人員聯係。


      我要定製

      定製產品類型:熔糖、真空滲糖係統

      • 聯係人
      • 聯係電話
      • 電子郵件
      • 驗證碼 點擊刷新驗證碼
      產品推薦
      • 帶式羞羞软件下载-大型全自動立式羞羞软件下载

        帶式羞羞软件下载-大型全自動立式羞羞软件下载

      • 螺旋羞羞软件下载

        螺旋羞羞软件下载

      • 破碎羞羞软件下载組

        破碎羞羞软件下载組

      • 雙道男女生打扑克羞羞视频免费网站機

        雙道男女生打扑克羞羞视频免费网站機

      • 單道男女生打扑克羞羞视频免费网站機

        單道男女生打扑克羞羞视频免费网站機

      上一頁:螺旋精製機
      下一頁:通芯去核機
      網站地圖